筋かい側のビスが貫通した状態が正しい施工方法です。突き抜けたビスは切断しないでください。
フラット筋かいプレート
用途・特長
30mm×90mm以上の筋かい(壁倍率1.5倍)及び45mm×90mm以上の筋かい(壁倍率2倍)の端部を接合するときに使用します。
①柱の側面に取り付けるため、ホールダウン金物等との干渉を軽減します。
②リフォームの際には外壁を外さず、筋かいの施工が可能です。
③板厚0.6mmと薄いため欠き込みが不要で、構造用合板等を金物の上から直張りできます。
④エンボス加工がしてあるため、ビス頭が表に出ません。
⑤本製品は柱芯間900mm〜1,000mmの壁にのみ使用可能です。
⑥ハウスプラス確認検査(株)による接合部性能試験済み商品です。
各種ダウンロード
取付参考図
CAD
性能試験
寸法図
取付参考図
施工方法
①金物突起部を柱面に合わせ、本体を土台・横架材の面から150mm離れた位置に合わせます。
②専用角ビットビス(TBA-45)で柱と筋かいに取り付けてください。(柱側:8本、筋かい側:5本)
※専用角ビットビス(TBA-45)の締め付けには、3番四角ビット(別売品)をご使用ください。
注意事項
- 指定の用途以外には使用しないでください。
- けが防止のため手袋等をはめて作業を行ってください。
- ビス頭が金物に接するまで締め付けたあと、必要以上にねじ込まないでください。
- ハンマーで叩くなど、乱暴に取り扱うと破損・変形する恐れがあります。
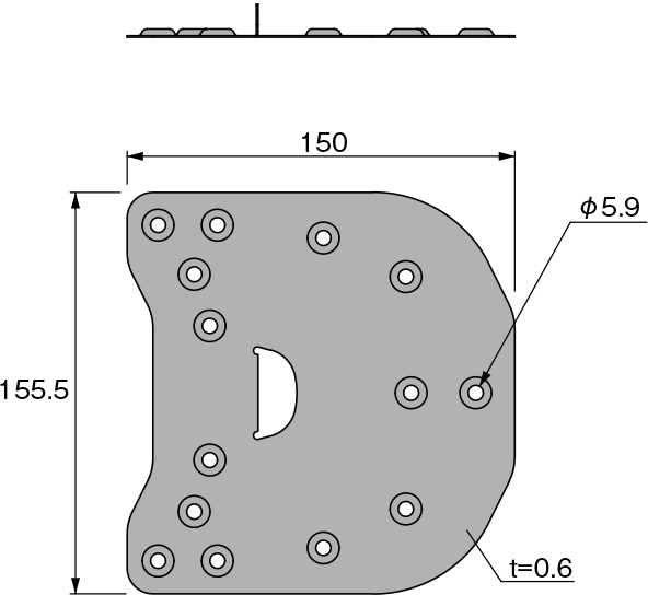
仕様
| サイズ(mm) | 商品コード | 梱包(1ケース) | 付属金物 | 重量(kg/ケース) |
|---|---|---|---|---|
| 155.5×150×0.6(t) | AA109200 | 40枚 | 専用角ビットビス TBA-45(520本) | 6.8 |
| 材質 | 降伏点560N/㎟以上、引張強さ570N/㎟以上の鋼材 |
|---|---|
| 表面処理 | 溶融亜鉛めっき鋼板(Z27)相当 |
よくある質問
30×90の筋かいを施工した際にTBA-45のビスが突き抜けてしまいます。施工方法は合っていますか



















